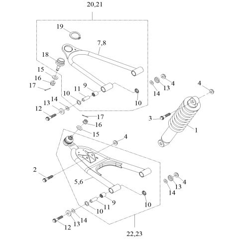
| Product Code | ACCESS_4_215_TMHWK_400 |
| Select BRAND: | ACCESS |
| PARTS CATEGORY: | FRAME PARTS |
| Select TYPE: | ACCESS Tomahawk |
| Select MODEL: | TOMAHAWK 400 |
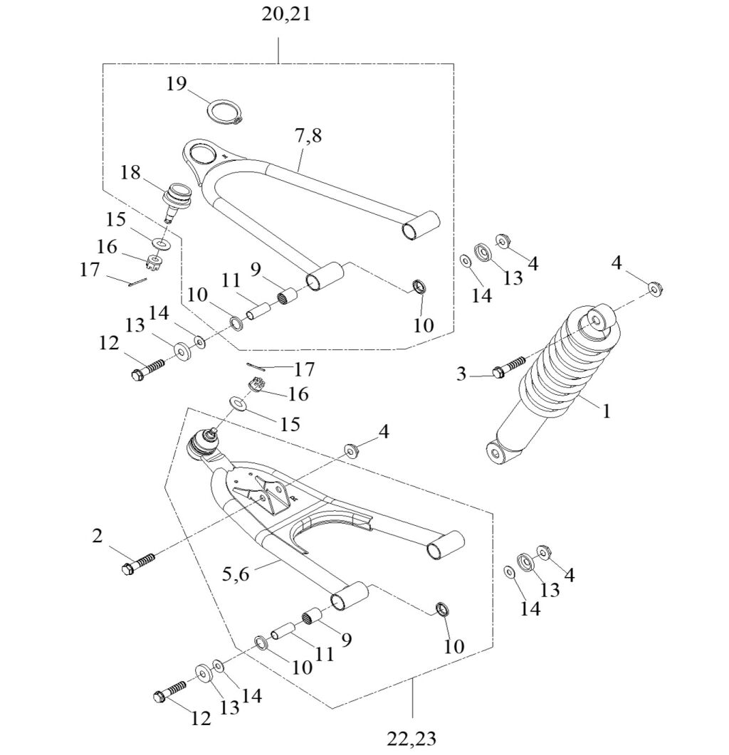
| Product Code | ACCESS_4_215_TMHWK_400 |
| Select BRAND: | ACCESS |
| PARTS CATEGORY: | FRAME PARTS |
| Select TYPE: | ACCESS Tomahawk |
| Select MODEL: | TOMAHAWK 400 |